Запасные части ЧТЗ Запасные части ЧТЗ
Иркутск
Например:
Актобе
Алдан
или
Выбрать автоматически
Актобе
Алдан
Алматы
Алчевск
Архангельск
Астана
Астрахань
Атырау
Баку
Балашиха
Барнаул
Белгород
Бердянск
Бишкек
Владивосток
Владикавказ
Воркута
Воронеж
Горловка
Грозный
Донецк
Екатеринбург
Иваново
Ижевск
Иркутск
Казань
Калининград
Каменск-Уральский
Караганда
Каховка
Кемерово
Киров
Комсомольск-на-Амуре
Костанай
Краснодар
Красноярск
Красный луч
Ленск
Луганск
Магадан
Магнитогорск
Макеевка
Махачкала
Мелитополь
Минск
Мирный (Якутия)
Москва
Мурманск
Нерюнгри
Нижневартовск
Нижний Новгород
Нижний Тагил
Новая каховка
Новокузнецк
Новосибирск
Новый Уренгой
Норильск
Ноябрьск
Нур-Султан
Омск
Оренбург
Ош
Павлодар
Пермь
Петрозаводск
Петропавловск
Петропавловск-Камчатский
Псков
Ростов-на-Дону
Салехард
Самара
Санкт-Петербург
Саратов
Севастополь
Семей
Симферополь
Сочи
Ставрополь
Сургут
Сыктывкар
Тараз
Ташкент
Токмак
Томск
Тында
Тюмень
Ульяновск
Усинск
Усть-Каменогорск
Уфа
Хабаровск
Ханты-Мансийск
Херсон
Челябинск
Чита
Шымкент
Экибастуз
Энергодар
Южно-Сахалинск
Якутск
Ваш город
Иркутск
Войти
Запасные части к тракторам на одном сайте
+7 (932) 303-00-10
+7 (932) 303-00-10
г. Иркутск, ул. Набережная Иркута, д. 1/1
Пн-Пт: 9:30-18:30 Cб-Вс: Выходной
Отправить заявку


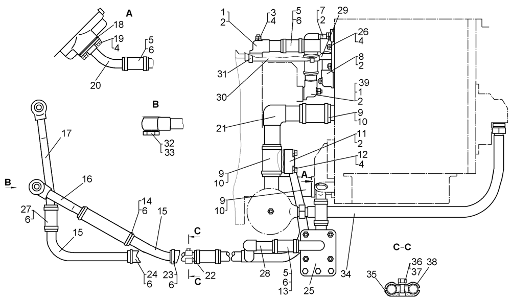
Гидравлическая система питания, управления и смазки гидромеханической трансмиссии на Т10М / Б10М


/
с НДС 20%
Описание
Гидравлическая система питания, управления и смазки гидромеханической трансмиссии на Т10М
# Номер запчасти Наименование детали Кол-во в сборке
64-60-1-01СП
64-60-11-01СП 1
Гидравлическая система питания,
управления и смазки гидромеханической трансмиссии
1
1 64-60-107СП
64-60-199СП 1
Труба 2
1
2 700-40-6515 Прокладка 4
3 - Гайка М10-7Н.6.019 2
4 - Шайба 10 ОТ 65Г 09 17
5 700-40-5967 Рукав 8
6 700-41-2224СП
-
Хомут
Хомут червячный 32-50/12 W2 2
24
7 64-60-109СП
64-60-170СП 1
Труба 1
8 64-60-1ОЗСП Труба 1
9 700-40-3552 Рукав 2
10 37-26-139СП
-
Хомут
Хомут червячный 50-70/12 W2 2
6
11 64-60-189СП Труба 1
12 Болт M10-6g×55.58.019
6
13 700-46 2303-02 1 Рукав 1
14 700-46-2362 Рукав 1
15 64-60-138 Труба 2
16 64-60-204СП Труба 1
17 64-60-187СП
64-60-142 1
Труба 1
18 700-40-7594 Прокладка 3
19 Болт М10-6g×25.58.019 7
20 64-60-1 0801 Труба 1
21 62-60-116СП
64-26-276СП 1
Труба
Угольник
1
1
22 64-60-1-05 Труба 2, 1
23 700-46-2303-02
700-40-3552-01 1
Рукав 1
24 700-46-2234 Рукав 1
25 64-60-106СП Фильтр 1
26 700-30-2099 Гайка 2
27 700-46-2142 Рукав 1
28 64-60-114СП Труба 1
29 64-60-264СП Труба 1
30 700-40-3487 
700-40-9645 1
Рукав 1
31 700-41-2228СП
-
Хомут
Хомут червячный 20-32/12 W2 2
2
32 700-41-2575 Штуцер 2
33 261164 Кольцо 4
34 50-26-486-02СП
50-26-486-03СП 3
50-26-486-08СП 1
50-26-486-09СП 1, 3
Рукав 2
35 700-40-3137 Прокладка 2
36 - Болт M10-6g×30.58.019 2
37 31308 Шайба 4
38 50-60-230 Прижим 2
39 64-60-107СП 1 Труба 1
1 Для болотоходного трактора.
2 Для тропиков, экспорта.
3 Для тропиков.
Гидравлическая система питания, управления и смазки гидромеханической трансмиссии