Запасные части ЧТЗ Запасные части ЧТЗ
Иркутск
Например:
Актобе
Алдан
или
Выбрать автоматически
Актобе
Алдан
Алматы
Алчевск
Архангельск
Астана
Астрахань
Атырау
Баку
Балашиха
Барнаул
Белгород
Бердянск
Бишкек
Владивосток
Владикавказ
Воркута
Воронеж
Горловка
Грозный
Донецк
Екатеринбург
Иваново
Ижевск
Иркутск
Казань
Калининград
Каменск-Уральский
Караганда
Каховка
Кемерово
Киров
Комсомольск-на-Амуре
Костанай
Краснодар
Красноярск
Красный луч
Ленск
Луганск
Магадан
Магнитогорск
Макеевка
Махачкала
Мелитополь
Минск
Мирный (Якутия)
Москва
Мурманск
Нерюнгри
Нижневартовск
Нижний Новгород
Нижний Тагил
Новая каховка
Новокузнецк
Новосибирск
Новый Уренгой
Норильск
Ноябрьск
Нур-Султан
Омск
Оренбург
Ош
Павлодар
Пермь
Петрозаводск
Петропавловск
Петропавловск-Камчатский
Псков
Ростов-на-Дону
Салехард
Самара
Санкт-Петербург
Саратов
Севастополь
Семей
Симферополь
Сочи
Ставрополь
Сургут
Сыктывкар
Тараз
Ташкент
Токмак
Томск
Тында
Тюмень
Ульяновск
Усинск
Усть-Каменогорск
Уфа
Хабаровск
Ханты-Мансийск
Херсон
Челябинск
Чита
Шымкент
Экибастуз
Энергодар
Южно-Сахалинск
Якутск
Ваш город
Иркутск
Войти
Запасные части к тракторам на одном сайте
+7 (932) 303-00-10
+7 (932) 303-00-10
г. Иркутск, ул. Набережная Иркута, д. 1/1
Пн-Пт: 9:30-18:30 Cб-Вс: Выходной
Отправить заявку


Установка гидроцилиндров на Т-170


/
с НДС 20%
Описание
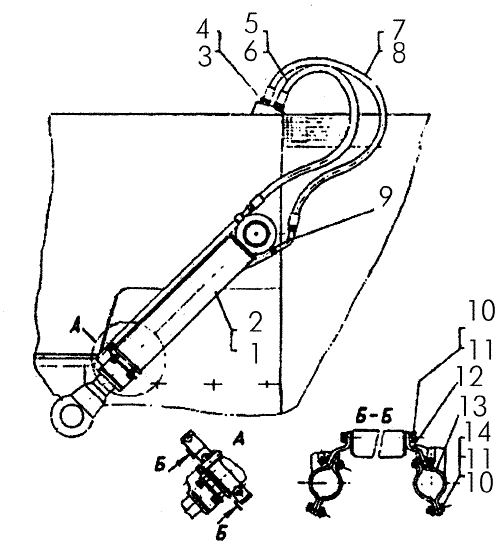
Установка гидроцилиндров Т-170
Поз.НаименованиеАртикулКол-во в сборке
0Установка гидроцилиндров50-26-41СП1
0Установка гидроцилиндров на трактор двойного назначения50-26-41-01СП1
1Гидроцилиндр 50-26-570СП2
2Гидроцилиндр 18-26-270СП2
3Кольцо 700-40-21354
4Штуцер700-40-34134
5Рукав 1650-26-485-04СП2
6Рукав 16 для тропиков50-26-485-05СП2
7Рукав 1650-26-485-06СП2
8Рукав 16 для тропиков50-26-485-07СП2
9Труба50-26-210СП2
10Болт700-28-21746
11Шайба 16ОТ65Г096
12Планка50-26-9042
13Скоба50-26-9054
14Гайка 30136
Установка гидроцилиндров